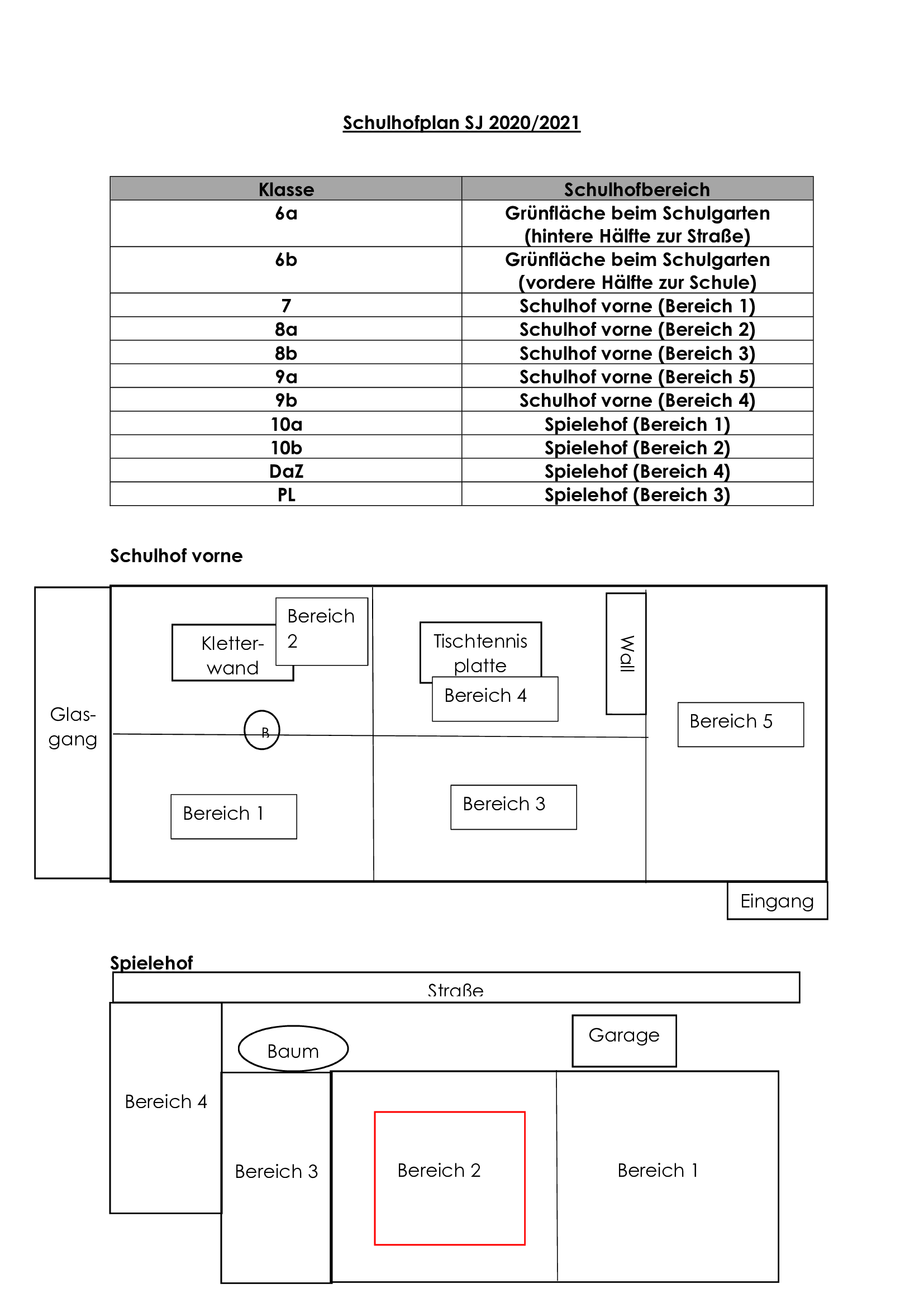
Schulhofplan Klassen 6-10, DaZ und PL

WILLKOMMEN AN BORD!
Wir sind eine aktive, familiäre und moderne Schule im Stadtteil Travemünde. Auf unserer Seiten finden Sie alle aktuellen Informationen.
Ihre Schulleitung

Liebe Eltern unserer Neuen,
sowohl bei der Einschulungsfeier der Klasse 1 als auch bei der Klasse 5 darf jedes Kind zwei erwachsene Begleiter/innen mitbringen. Geschwisterkinder, die nicht anders betreut werden können, dürfen notfalls ebenfalls mitgebracht werden.
Wir haben immer noch sehr strenge Auflagen und müssen uns an die gesetzlichen Vorgaben halten.
Wir freuen uns schon sehr auf unsere neuen Schülerinnen und Schüler und werden trotz der immer noch etwas besonderen Lage eine schöne Einschulungsfeier haben.
Bis bald an der Schule am Meer, Gesine Weinhold
Liebe Eltern, liebe Schülerinnen und Schüler, wir arbeiten mit Hochdruck daran, den Schulstart ins Schuljahr 2020/2021 möglichst gut und normal zu gestalten.
Das Ministerium hat angekündigt, morgen noch einmal neue Erkenntnisse zu übermitteln. Darauf warten wir, damit wir ganz aktuell sein können.
Bitte schauen Sie ab Donnerstag wieder ganz regelmäßig auf unsere Homepage. Es wird wichtige Informationen geben.
Genießen Sie das schöne Sommerwetter und bleiben Sie gesund, für das Schulleitungsteam:
Gesine Weinhold
Liebe Schülerinnen und Schüler der neuen 5. Klassen, liebe Eltern,
hier findet ihr/ finden Sie die Materialliste.
Wir freuen uns auf euch!
Grund- und Gemeinschaftsschule
der Hansestadt Lübeck
Strandweg 1
23570 Lübeck
Telefon 0451-12283011
Schulbüro: Frau Röseler
Bürozeiten:
Montag - Donnerstag:
7.45 Uhr- 13.30 Uhr
Mittwoch: keine Bürozeit- Termine nach Absprache
Aktuelle Termine:
| 18.12. | Schule im Kerzenschein |
| 19.12.-06.01. | Weihnachtsferien |
| 08.01. | Floorball- Stadtmeisterschaft |
| 21.01. | Zeugniskonferenzen Kl. 7-10/ DaZ |
| 22.01. | Zeugniskonferenzen Kl. 1-6 |